板框壓濾機濾板結構圖:板框壓濾機工作原理及結構
板框壓濾機濾板結構圖:板框壓濾機工作原理及結構 板框壓濾機是較先應用于化工脫水的機器。盡管板框壓濾機普通為間歇操縱、基建設置裝備擺設投資較大、過濾才能也較低,但由于其擁有過濾推動力大、濾餅的含固率高、濾液清徹、固體回收率高、療養藥品消耗量少等好處,在一些小型污水廠仍被普遍使用。
板框壓濾機由機架、過濾及傳動體系等構成。
1、機架
由尾板絲母支架、橫梁連貫而成,用于支持濾板及傳動機構。
2、過濾體系
由濾板和濾布構成。用泵將待過濾的懸浮液輸送到已壓緊的各個濾室中,懸浮液中的液體透過濾布,經由過程各濾板上的濾液孔排至機外,懸浮液中的固體顆粒則蘊蓄于濾室中,并逐步構成濾餅,濾餅布滿濾室即實現一個過濾輪回。
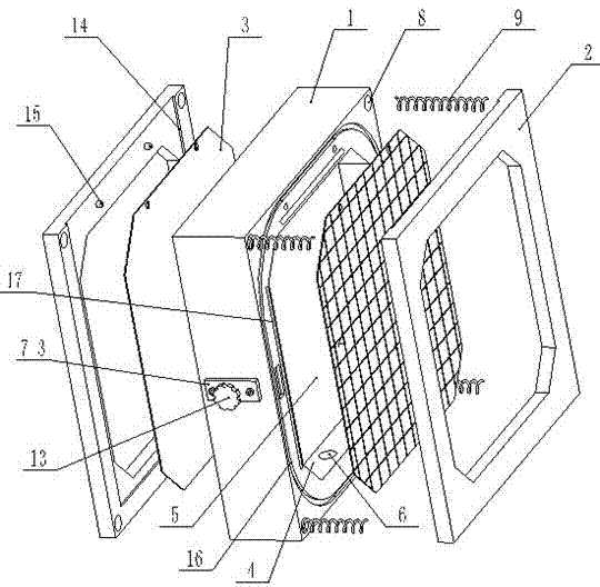
板框壓濾機結構圖
板框壓濾機的濾板、濾框和濾布的組織示見圖1,此中(a)為濾框,(b)為濾板,(c)為濾布。板框壓濾機組織見圖2,板框壓濾機及隸屬設置裝備擺設安置體式格局見圖3,除板框壓濾機主機外,另有進泥體系、投藥體系和收縮氛圍體系。


板框式壓濾機的結構
板框壓濾機由瓜代羅列的濾板和濾框組成一組濾室。濾板的外貌有溝槽,其凸出部位用以支持濾布。濾框和濾板的邊角上有通孔,組裝后組成殘缺的通道,能通入懸浮液、洗濯水和引出濾液。板、框雙側各有把手支托在橫梁上,由壓緊裝配壓緊板、框。板、框之間的濾布起密封墊片的感化。由供料泵將懸浮液壓入濾室,在濾布上構成濾渣,直至布滿濾室。濾液穿過濾布并沿濾板溝槽流至板框邊角通道,集合排擠。過濾終了,可通入清洗濯水洗濯濾渣。洗濯后,偶然還通入收縮氛圍,撤除殘剩的洗滌液。隨后關上壓濾機卸除濾渣,蕩滌濾布,從新壓緊板、框,開端下一事情輪回。
板框壓濾機關于濾渣壓縮性大或近于弗成收縮的懸浮液都能合用。適宜的懸浮液的固體顆粒濃度普通為10%如下,操縱壓力普通為0.3~0.6MPa,非凡的可達3MPa或更高。過濾面積能夠隨所用的板框數量增減。板框平日為正方形,濾框的內邊長為320~2000mm,框厚為16~80mm,過濾面積為1~1200㎡。板與框用手動螺旋、電動螺旋和液壓等體式格局壓緊。
板框式壓濾機主要由止推板(流動濾板)、壓緊板(舉止濾板)、濾板和濾框、橫梁(扁鐵架)、過濾介質(濾布或濾紙等)、壓緊裝配、集液槽等構成,此中過濾介質和集液槽由用戶自備,也可由提供商朝配。
板框壓濾機有手動壓緊、機器壓緊和液壓壓緊三種方式。手動壓緊是螺旋千斤*推進壓緊板壓緊;機器壓緊是電動機配H型加速箱,經機架傳動部件推進壓緊板壓緊;液壓壓緊是有液壓站經機架上的液壓缸部件推進壓緊板壓緊。兩橫梁把止推板和壓緊裝配連在一路組成機架,機架上壓緊板與壓緊裝配連貫,在止推板和壓緊板之間順次瓜代羅列著濾板和濾框,濾板和濾框之間夾著過濾介質;壓緊裝配推進壓緊板,將所有濾板和濾框壓緊在機架中,達到額外壓緊力后,即可舉行過濾。懸浮液從止推板上的進料孔進入各濾室(濾框與相鄰濾板組成濾室),固體顆粒被過濾介質截留在濾室內,濾液則透過介質,由出液孔排擠機外。
壓濾機的出液有明流和暗潮兩種方式,濾液從每塊濾板的出液孔間接排擠機外的稱明流式,明流式便于監督每塊濾板的過濾情形,發明某濾板濾液不純,即可封閉該板出液口;若各塊濾板的濾液匯集從一條出液管道排擠機外的則稱暗流式,暗流式用于濾液易揮發或濾液對人體無害的懸浮液的過濾。
1、本公司出產的壓濾機在過濾前期,流量很小,而且壓力高,能夠大大地縮小操縱能源的能耗,起到了節能的感化。
2、接納高壓過濾,低壓壓迫,能夠大大收縮全部過濾周期,節減勞動時候。
3、可以或許在很短的時間內實現隔閡壓迫性能,不但效率高,而且能夠很大水平的節減功率損耗。
4、晉升泥餅干度,下降泥餅含率,隔閡壓迫對動態過濾完結后的濾餅舉行二次壓迫,使濾餅的布局重排,致密度加大,從而置換出一部分水份,提高了干度。
5、抗腐蝕能力強,能夠饜足分歧行業的固液分手請求,基礎適用于所有固液分手功課。
6、可設置PLC及人機界面操縱,大大地縮小野生勞動強度,并進步固液分手的服從。
7、隔閡濾板擁有密封性能好等特色。
板框壓濾機工作原理:
板框壓濾機用于固體和液體的分離。與其它固液分離設備相比,壓濾機過濾后的泥餅有更高的含固率和優良的分離效果。固液分離的基本原理是:混合液流經過濾介質(濾布),固體停留在濾布上,并逐漸在濾布上堆積形成過濾泥餅。而濾液部分則滲透過濾布,成為不含固體的清液。
隨著過濾過程的進行,濾餅過濾開始,泥餅厚度逐漸增加,過濾阻力加大。過濾時間越長,分離效率越高。特殊設計的濾布可截留粒徑小于1μm的粒子。壓濾機除了優良的分離效果和泥餅高含固率外,還可提供進一步的分離過程:在過濾的過程中可同時結合對過濾泥餅進行有效的洗滌,從而有價值的物質可得到回收并且可以獲得高純度的過濾泥餅。


